A mysterious San Francisco barge appears to be connected to Google in some way, and may be a Google Glass store.
Google isn’t commenting on the barge.
A source told CBS that Google is building a floating marketing center that will be a kind of giant Apple store for Google Glass.
However, after work on the barge started following its appearance several months ago, it suddenly stopped a few weeks ago. Why? The source says that it’s because Google doesn’t have a permit for the floating structure.
“Google has spent millions on this,” said the source, which is close to the San Francisco Bay Conservation and Development Commission. “But they can’t park this barge on the waterfront without a permit, and they don’t have one.”
Larry Goldzband, executive director of the commission, said that Google can build whatever it wants but that it must define the structure’s purpose to get a permit.
But there are obstacles.
“The law is crystal clear in this case: The Bay is not to be used for something that can be built on land,” Goldzband said.
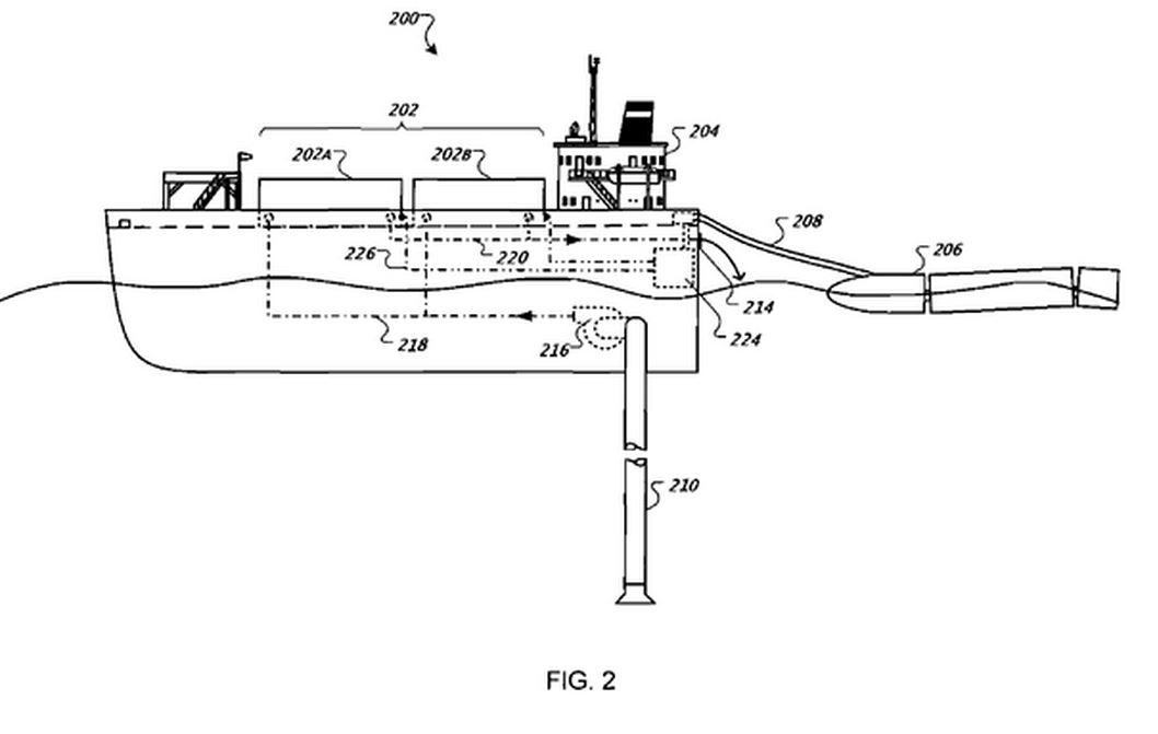
Google has a patent for a “water-based data center,” filed in 2007 and published in 2009.
Making the mystery more mysterious is that a similar barge appeared on the Portland Harbor earlier this month.
Joel Egan, the principal at Cargotecture, which designs buildings using shipping containers, told the Portland Press Herald that because the structure on the barge doesn’t have windows, it is likely a data center.
Jonathan Koomey, a Stanford University research fellow and expert on data centers, added that it would be beneficial to have water available to cool the servers, and the problem of saltwater could be overcome.
“I am very surprised to hear there is another one,” he said. “This is fascinating.”
The barge in San Francisco, which is 250 feet long and 72 feet wide, was built in 2011. It’s next to a building on Treasure Island known as Hangar 3, and a project that was being built in the hangar has since been moved to the barge, reported CNET.
Egan said that the structure looks like a data center.
“The cutouts in the long walls of the containers, when they line up, they make hallways,” Egan said. “You could put all sorts of mainframes into the containers...It doesn’t have enough windows for an office building.”
A former Google employee said that it “makes perfect sense” that the company would set up a company as a front for the project, which in this case is By and Large LLC, which has leased Hangar 3.
Tim Brandon, named as the contact person for the LLC, is the senior transaction manager, CBRE @ Google, according to his LinkedIn.





